Articles
Cliquez sur lʼicône avec les 3 points afin d’obtenir plus dʼoptions pour chaque article.

Fin de série
| N° de réf. | 115.640.JL.1 |
| Couleur / surface | Touche : gris sable / Verre brillant Bande design : Verre réfléchissant Cadre : chrome / Brillant |
| Matériau | Zinc moulé sous pression / verre |
Informations complémentaires
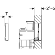
- Pour l'utilisation avec un réservoir à encastrer 12 cm Geberit Sigma, commander en supplément le kit d'encastrement à fleur de paroi pour réservoir à encastrer 12 cm Geberit Sigma (n° de réf. 243.168.00.1)


















































