Articles
Cliquez sur lʼicône avec les 3 points afin d’obtenir plus dʼoptions pour chaque article.

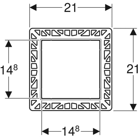
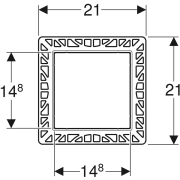
| N° de réf. | 116.421.00.1 |
| L | 14.8 cm |
| B | 14.8 cm |
Ma liste (0)
Cliquez sur lʼicône avec les 3 points afin d’obtenir plus dʼoptions pour chaque article.

| N° de réf. | 116.421.00.1 |
| L | 14.8 cm |
| B | 14.8 cm |
Matériau Acier / matière synthétique |
Matériau Acier / matière synthétique |
Cliquer sur un champ d'application pour chercher d'autres produits
Cliquer sur une caractéristique pour chercher d'autres produits
Cadre de montage
Plaque de support
Matériel de fixation